Сушилка для обуви СО-3 предназначена для сушки одежды и обуви подогретым воздухом. Сушилка обеспечивает быструю и мягкую сушку, исключая коробление материала обуви и одежды. Сушилки рекомендованы для предприятий спортивно-курортной сферы, образовательных учреждений, пищевой и перерабатывающей промышленности, нефтегазовых и строительных организаций, транспортных компаний, силовых структур МВД, МЧС, Погранслужб, аварийно-ремонтных групп и подразделений ЖКХ. Оборудование предназначено для использования внутри помещений.
В местах с ограниченными электрическими мощностями практикуется установка данных сушилок, работающих на жидком теплоносителе (опция).
Состав и материалы

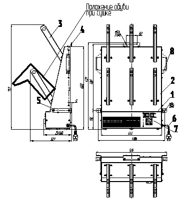
Корпус и патрубки каждого модуля изготовлены из листовой стали с порошковым покрытием. Каждый патрубок опционно, может быть снабжен инерционным клапаном, позволяющим не расходовать теплый воздух вхолостую, если на кронштейн не навешена обувь или одежда.
Силовой элемент представляет собой керамический нагреватель с вентилятором в сборе.

Безопасность
Безопасность работы электрооборудования обеспечивается наличием термостата защиты, который отключает нагреватель в случае превышения температуры.
Степень защиты, обеспечиваемая оболочкой – IP 22 по ГОСТ 14254-96 (МЭК 529-89).
Эксплуатация
Сушилка может эксплуатироваться в районах с умеренным и холодным климатом в помещениях с температурой от -10 гр.С до +40 гр.С (климатическое исполнение УХЛ3.1 по ГОСТ 15150-69). Сушилка не требует технического обслуживания. Исправность сушилки определяется внешним осмотром, затем включением и проверкой нагрева потока воздуха.
Сушилка состоит из блока нагрева и короба нагнетающего теплый воздух с воздухоподводящими кронштейнами, имеет блок управления и шнур питания 220В с вилкой. Режимы работы – с нагревом и без нагрева.
Управление
Сушилка оснащена индивидуальным блоком управления с таймером. Таймер позволяет выставить продолжительность работы сушилки.

Включение сушилки осуществляется с помощью переключателя режимов работы. А установив поворотный селектор реле времени, выбирается требуемый интервал сушки, по истечении которого оборудование автоматически выключится.
Доступные опции
1. Покраска с любой цвет по каталогу RAL.





