Описание осциллографа АКИП-75444D:
Линейка USB-осциллографов АКИП-75000 получила обновление - это новая серия АКИП-75000D. Уникальной особенностью серии АКИП-75000D является возможность выбора аппаратного разрешения аналого-цифровых преобразователей (АЦП): 8 бит, 12 бит, 14 бит, 15 бит, 16 бит, а также наличие моделей с логическим анализатором на 16 каналов (MSO). Все модели обновленной серии для связи с ПК используют высокоскоростной интерфейс USB 3.0 (совместимость с USB 2.0).
Серия АКИП-75000D включает 12 осциллографов с полосами пропускания 60, 100 и 200 МГц, которые отличаются числом входных каналов (2 или 4 аналоговых канала + 16 цифровых каналов) и объемом памяти. Все модели серии снабжены встроенным функциональным и генератором сигналов произвольных форм. Модели только с аналоговыми каналами имеют вход внешней синхронизации, осциллографы смешанных сигналов (MSO) такого входа не имеют.
Осциллографы имеют сегментированную память (запись до 10.000 сегментов), а также поддерживают функцию «USB streaming». Функция представляет собой непрерывную потоковую оцифровку входного сигнала с передачей отсчетов по интерфейсу сразу на управляющий ПК. При использовании программного обеспечения PicoScope 6 максимальная частота дискретизации будет составлять 20 МГц. Ресурсы памяти компьютера для регистрации данных – 100 МБ (установка управляющей программы). Минимальный Кразв, при котором осциллограф переходит в режим сбора данных напрямую на внешний компьютер, выбирается пользователем и может составлять от 200 мс/дел. Максимальное входное напряжение ±20 В (защита входа ±100 DC+ACпик, входной импеданс 1 МОм/ 13 пФ.
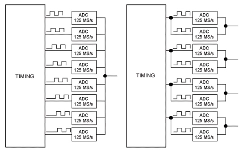
Как и в серии АКИП-75000, в новой серии АКИП-75000D АЦП представляет собой единую мультиплексорную плату сбора данных и при этом является многоядерным. Для 4-канальных моделей USB-осциллографов число ядер дискретизации составляет - 8, для 2-канальных моделей – 4. Это позволило в АКИП-75000D реализовать инновационную технологию объединения нескольких ядер АЦП (последовательно или параллельно) для увеличения частоты дискретизации или реального разрешения по вертикали (соответственно).
Наличие режимов объединения обеспечивает пользователю гибкость в выборе приоритета требуемого параметра, а также высокую адаптивность в решении конкретной измерительной задачи. Например, при объединении ядер АЦП для последовательного опроса входных каналов обеспечивается максимальная частота дискретизации, которая в одноканальном режиме достигает 1 ГГц при разрешении 8 бит (на рис. - слева).

С целью обеспечения требований по минимизации ошибок квантования и достижения максимальной дискретности измерений по вертикали применяется параллельное объединение ядер АЦП. В этом случае разрешение каждого из активных каналов увеличивается до 14 бит с дискретизацией 125 МГц (на рис. - справа). При использовании двух каналов вертикальное разрешение увеличивается до 15 бит, а в одноканальном режиме разрядность АЦП составит 16 бит при максимальной частоте дискретизации 62,5 МГц (режим объединения всех входов).
Питание осциллографов осуществляется по интерфейсу USB 3.0 при работе с двух канальными моделями или от сетевого адаптера при работе с четырех канальными моделями (возможна работа без сетевого адаптера, по интерфейсу USB 3.0, при использовании только двух аналоговых каналов или только MSO).
Особенности осциллографа АКИП-75444D:
- Тип осциллографа USB;
- Число каналов 4;
- Полоса пропускания 200 МГц;
- Максимальная частота дискретизации 1 ГГц;
- Максимальный объем памяти 512 МБ;
- АЦП (бит) 8, 12, 14, 15, 16;
- Сопротивление входа 1 МОм;
- Переключаемое разрешение АЦП (8, 12, 14, 15, 16 бит);
- Сегментированная память до 10.000 осциллограмм;
- Цифровая регистрация на ПК (streaming mode);
- Анализатор спектра;
- Функциональный и генератор произвольных форм;
- Декодирование сигналов (18 встроенных протоколов);
- Интерфейс;
- Масса 0,5 кг.





